Patent No.: US 6,588,710 Date of Patent: July 8, 2003
Patent No.: Canadian 2,480,013 Date of Patent: April 19, 2011
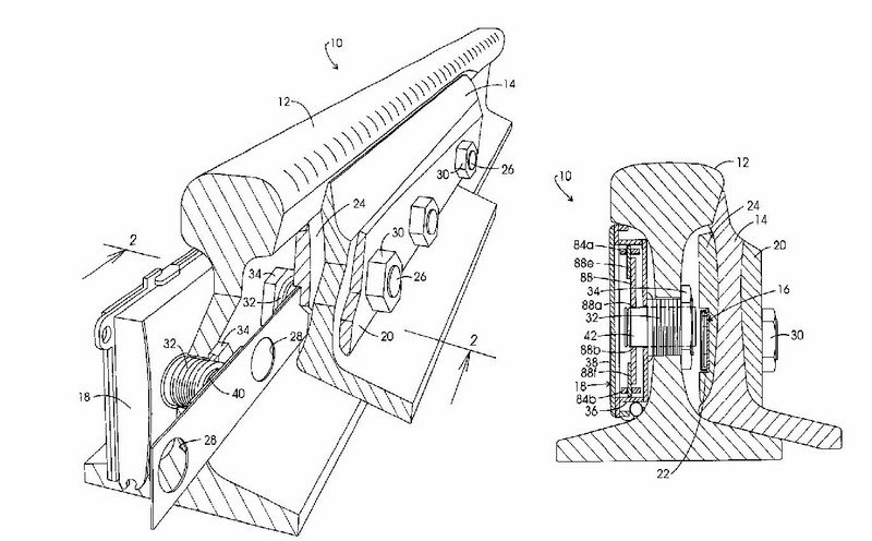
This invention relates generally to railroad trackwork switches, and particularly concerns sensor apparatus useful for detecting and indicating whethere or not the switch point of a railroad trackwork switch is satisfactorily positioned with respect to the switch stock rail.
